壓鑄的澆注系統決定了金屬液的流向、速度以及填充時間,同時對調節和控制壓力傳導、模具溫度起到一定的作用,是決定壓鑄件品質的關鍵因素。排溢系統包括溢流槽和排氣道,是將壓鑄過程中氣體、冷料、污料排出的通道。在壓鑄模設計過程中,常常將澆注系統和排溢系統做為一個整體來綜合考慮。本研究以發動機前蓋壓鑄模為例,介紹其澆注系統和排溢系統設計過程及設計方法,對汽車發動機前蓋形狀、結構特點及技術要求進行分析,設計了該產品澆注系統和排溢系統,并采用計算方法設計出內澆口、橫澆道、排溢槽的尺寸。在理論設計的基礎上,使用AnyCasting軟件對發動機前蓋產品的壓鑄過程進行模擬,經過實際試模后對產品品質進行檢查,對排溢槽尺寸進行微調,為同類產品開發提供參考。
圖文結果
依據前蓋的結構特點,選擇側澆道進行充填,側澆道布置在分型面上鑄件的長邊方向,可以保證足夠的內澆口截面積,并且可以縮短充填流程和充填時間。由于該前蓋側向有多個螺栓安裝孔,為避免澆道充填時沖擊型芯,側向澆道設計成分支澆道布置在鑄件兩個相鄰的螺栓安裝孔中間,澆注系統結構見圖2。其具有以下優勢:金屬液充填流程短,可以快速充滿型腔,減少熱量損失;分支橫澆道具有一定的長度,可以保證金屬液的流向及順序充填;避免金屬液沖擊型芯而引起的紊流和粘料;方便布置溢流槽和排氣道,有利于排氣;便于去除,并方便后序自動切邊,防止鑄件變形;有利于均衡模具溫度。




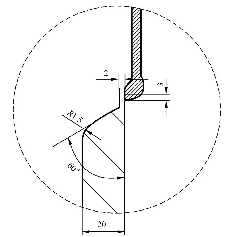
根據鑄件的投影面積和壓射所需的壓射比壓計算出的鎖模力,確定此前蓋使用20000kN壓鑄機生產,選用熔杯直徑為?110mm。直澆道的厚度即壓射后料餅的厚度,直接關系到增壓壓力的有效傳遞,如果料餅過薄,壓力傳遞不充分,鑄件的內部品質會降低;如果料餅過厚,浪費材料而且因冷卻不夠常出現爆料,嚴重影響生產節拍。直澆道的厚度一般取熔杯直徑的25%,前蓋的直澆道的厚度取30mm 。橫澆道作用是將金屬液從直澆道順暢地引入內澆口,其形狀、尺寸取決于內澆口的位置、形狀和方向。前蓋采用分支澆道,為防止金屬液在拐角處出現分散,流道的截面積要有規律地減小并增大圓角半徑。橫澆道的結構設計見圖2,橫澆道的截面積取3~4倍內澆口截面積,截面形狀采用梯形,與內澆口采用60°斜面R15mm的圓角過渡。
排溢系統是金屬液充填型腔的過程中排出空氣、容納殘留涂料及最初充填冷合金的通道,對鑄件的品質影響很大。排溢系統主要包括溢流槽和排氣槽,在溢流槽和排氣槽的設計中要充分考慮澆道的位置、結構形式及金屬液的導入方向。設計溢流槽的位置時,首先要考慮將溢流槽放置于金屬液在型腔的充填末端及多股金屬液匯流的位置。根據前蓋的結構特點并結合分支澆道的位置,將溢流槽設計在前蓋澆口對面的最后填充的位置,分區域設計7處溢流槽。同時考慮鑄件內部有兩處大的通孔,此處的型腔結構會阻礙金屬液的流動并改變金屬液的流向,造成局部區域金屬液匯流,嚴重時會出現充填不完整,因此在鑄件中心兩個大孔處設計溢流槽,有利于金屬液的填充及冷卻過程中補縮。



作者
董淑婧 侯麗彬
大連科技學院機械工程學院
本文來自:《特種鑄造及有色合金》雜志,《壓鑄周刊》戰略合作伙伴
